DEIF DELOMATIC 400 GAS 模块化燃气发动机控制与监控系统
产品基础信息
DELOMATIC 400 GAS是 DEIF A/S 研发的全燃气发动机控制与监控系统,文档编号 4921240452B,核心定位为模块化过程控制器,基于经船舶应用验证 25 年的发电机控制系统开发,专为燃气发动机 / 水轮机能源站设计,完美适配海上、陆分散式能源发电的恶劣环境、远距离部署、无人化运营需求,支持本地 / 远程 TCP/IP PC 监控,集成排放控制、热电联供控制、调速器、发电机监控等全功能,还内置电网故障保护机制。
硬件配置与规格
系统硬件由机架 + 核心功能模块 + 外设组成,所有模块均自带处理器,独立工作且通过机架背板通信,核心硬件参数如下:
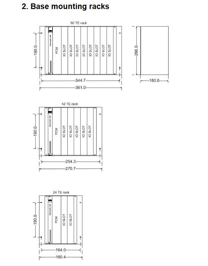
标准机架
提供 3 种工业标准机架规格,防护等级IP20,符合多项国际温振、冲击标准,具体参数见下表:
机架规格 可搭载模块 工作温度 存储温度 振动 / 冲击认证
24 TE 2 模块 + 电源 / 处理器模块 -25~70℃(IEC 60068-2-1/2) -40~85℃(IEC 60255-1) DNV A+C、IEC 60255-21 系列,20g 碰撞 / 50g 冲击
42 TE 最多 4 模块 + 电源 / 处理器模块 同上 同上 同上
60 TE 最多 8 模块 + 电源 / 处理器模块 同上 同上 同上
机架材质为 UL94-V0 塑料接头、铝制外壳、钢制盖板,EMC/CE 符合 EN 61000-6-2/4、IEC 60255-26,安全标准达 EN 61010-1 III 类过压(690 Vac)、污染等级 2。
核心功能模块
系统含 4 类核心模块,各模块独立供电、功能互补,关键参数见下表:
模块型号 核心功能 尺寸 核心参数
PCM 4∙3 主电源 + 主控模块,为机架供电、控制背板数据交换,含应用程序和通信接口 8TE(40.64mm) 供电 18~36 Vdc/6A;3 路 CAN、1 路 RS422/485、1 路 ARCNET、1 路百兆网;180MHz 处理器,Linux 2.6 系统,64MB SD RAM
PCM 4∙4 扩展机架控制器,与主 PCM 通过 ARCNET 通信 8TE(40.64mm) 供电 18~36 Vdc/6A;3 路 CAN、1 路 RS422/485、1 路 ARCNET;256000 Baud USB 服务口,2MB RAM
IOM 4∙2 40 通道多功能 IO 模块,光电隔离防护,适配恶劣环境 6TE(30.48mm) 12 路数字输入、4 路频率输入、10 路数字输出、6 路温度输入、4 路模拟输入、4 路模拟输出;温感分辨率0.1°K,模拟输入 16 位分辨率
SCM 4∙1 0.5 级交流测量与保护模块,电网 / 发电机三相电参数采集,带同步检查和跳闸继电器 6TE(30.48mm) 直接测 690Vrms 三相电压,支持 CT/PT 扩展;测量精度0.5 级,可测 500Hz 谐波;3.25kV 电压隔离,2 路继电器输出(8A/230Vac)
外设
标配可选12 英寸触摸屏 PC,支持 USB、TCP/IP 直连 / 远程访问,为系统核心人机交互端。

核心功能(标准配置)
系统功能覆盖测量、保护、控制三大维度,针对燃气发动机 / 发电机 / 电网做全维度管控,其中燃气发动机为专属定制功能:
全维度测量功能
电参数:发电机 / 电网三相电压(L1-L3/N)、三相电流、分相 / 总有功 / 无功功率、有功 / 无功电能计量;
运行参数:设备运行时长、断路器操作次数;
工艺参数:全厂区温压、燃气管路温压、涡轮增压器后排气温度等;
采集精度:SCM 4∙1 电参数测量0.5 级,IOM 4∙2 温度分辨率 0.1°K、模拟量精度 0.5% 满量程。
多重保护功能
电网保护:矢量跳变、频率变化率(df/dt)、电压 / 频率异常保护;
发电机电气保护:过 / 欠压、过 / 欠频、电流不对称、过载、逆功率、最小功率、过流、热过流、过励磁、失磁;
燃气发动机专属保护:润滑油压监控、冷却液温度监控、燃气泄漏检测、燃气阀开启时间监控、排气背压监控、冷却液水位限制等;
通用安全保护:超速保护、断路器位置断线监控、紧急停止、硬件安全链(带复位)、可配置故障输入、启动器齿对齿监控。
全场景控制功能
基础控制:调速器(带加速控制,无需外部调速器)、电压调节 / 功率因数控制、电网同步(带电压调节和时间监控)、电动断路器操作、辅助设备预运行 / 后运行;
燃气发动机控制:全自动启停、预热控制、停机后运行、基于多参数的负载调节、混气控制、排放控制(可选 λ 传感器 / 进气歧管温压 / 燃烧室温度)、冷却 / 应急冷却 / 加热回路控制;
能源管理控制:热电联供控制(热需求控功率输出)、峰值削填、CH4 值 / 燃气液位 / 压力控运行、机房温度 / 风阀 / 排气旁通阀控制;
平滑运行:功率斜坡功能(实现平稳启停)、可配置模拟功率设定点。
人机界面与运维功能
系统搭载可视化用户界面,支持本地 + 远程全流程运维,核心特性:
数据展示:所有测量值图形 + 数字双显,保护状态可视化,设备 P&I 图实时展示组件状态变化;
数据记录:带时间戳的日志本(200 + 条记录),趋势分析功能;
操作配置:支持参数调整、多用户访问(触摸屏 / 笔记本 USB/TCP/IP),远程 TCP/IP 访问;
运维提醒:基于运行时长的可配置维护提醒,故障快速诊断与运营恢复。
通信能力
系统支持多协议、多接口通信,可与点火系统、抗爆系统、燃气混气控制系统等外部设备对接,核心通信方式:
模块间:机架背板、ARCNET(主 / 扩展机架);
设备间:CAN(125/250 kbps)、RS422/485(4800-57600 Baud);
远程 / 本地:Ethernet(10/100 Mbit TCP/IP)、USB;
其他:ARCNET(电 / 光连接,2.5 Mbit)、Display port(TTL)。
